Jarzma pod hamulce tarczowe tył
- gajos3
- Aktywny użytkownik
- Posty: 181
- Rejestracja: ndz sie 13, 2006 3:08 pm
- Miejscowość: Bielsk Podlaski
- Auto: Inne
- Kontakt:
Jarzma pod hamulce tarczowe tył
Witam
Koledzy, czy ktoś może orientuje się, czy jarzma np. w UT, PGT i Tipo Sedicivalvole są takie same? Czy z racji większej średnicy tarcz z tyłu w PGT i Tipo, jarzma są inne? Czy różnica jest tylko w tym wsporniku do którego przykręca się jarzmo w UT?
PS kiedyś widziałem rysunek techniczny tego wspornika (blachy) do którego jest przykręcane jarzmo, może go ktoś umieścić albo podesłać dla mnie, bo nie mogę go teraz znaleźć.
Pozdrawiam
Koledzy, czy ktoś może orientuje się, czy jarzma np. w UT, PGT i Tipo Sedicivalvole są takie same? Czy z racji większej średnicy tarcz z tyłu w PGT i Tipo, jarzma są inne? Czy różnica jest tylko w tym wsporniku do którego przykręca się jarzmo w UT?
PS kiedyś widziałem rysunek techniczny tego wspornika (blachy) do którego jest przykręcane jarzmo, może go ktoś umieścić albo podesłać dla mnie, bo nie mogę go teraz znaleźć.
Pozdrawiam
-
uniak 1.4T
- Spamer :P
- Posty: 522
- Rejestracja: pt cze 12, 2009 11:04 am
- Miejscowość: Mysłowice
- Auto: Punto GT
Re: Jarzma pod hamulce tarczowe tył
temat zacisków UT/PGT był juz wałkowany 1000000000 razy, jesli w tipo tarcza jest taka sama rozstaw otworów na mocowanie bedzie taki sam
- gajos3
- Aktywny użytkownik
- Posty: 181
- Rejestracja: ndz sie 13, 2006 3:08 pm
- Miejscowość: Bielsk Podlaski
- Auto: Inne
- Kontakt:
Re: Jarzma pod hamulce tarczowe tył
Przepraszam kolego ale mało rozumiem Twoją odpowiedź. Nie wiem czy jarzma w Tipo są takie same jak w UT dlatego pytam.
Mam zaciski z jarzmami od Tipo i się zastanawiam, czy podejdą p&p pod tarcze 227mm do Uno na tył. Tipo ma z tyłu tarcze 240mm.
Masz może rysunek tego wspornika, do którego przykręca się jarzmo?
Mam zaciski z jarzmami od Tipo i się zastanawiam, czy podejdą p&p pod tarcze 227mm do Uno na tył. Tipo ma z tyłu tarcze 240mm.
Masz może rysunek tego wspornika, do którego przykręca się jarzmo?
- Drupi
- Obserwator
- Posty: 23
- Rejestracja: śr mar 03, 2010 8:38 pm
- Auto: Uno 1.3T
- Lokalizacja: Den Haag
- Kontakt:
Re: Jarzma pod hamulce tarczowe tył
Tu powinieneś coś znaleźć
http://www.fiatforum.com/cinquecento-se ... rsion.html
http://www.fiatforum.com/cinquecento-se ... on-ii.html
http://www.fiatforum.com/cinquecento-se ... rsion.html
http://www.fiatforum.com/cinquecento-se ... on-ii.html
Fiat Uno 2.0 16VT Integrale
Volvo V70 '00 - 2.4 20V
Pug 307 SW 1,6
Volvo V70 '00 - 2.4 20V
Pug 307 SW 1,6
-
uniak 1.4T
- Spamer :P
- Posty: 522
- Rejestracja: pt cze 12, 2009 11:04 am
- Miejscowość: Mysłowice
- Auto: Punto GT
Re: Jarzma pod hamulce tarczowe tył
to mogłes napisac ze masz zaciski z tipo a nie pytac o pgt/utgajos3 pisze:Przepraszam kolego ale mało rozumiem Twoją odpowiedź. Nie wiem czy jarzma w Tipo są takie same jak w UT dlatego pytam.
Mam zaciski z jarzmami od Tipo i się zastanawiam, czy podejdą p&p pod tarcze 227mm do Uno na tył. Tipo ma z tyłu tarcze 240mm.
Masz może rysunek tego wspornika, do którego przykręca się jarzmo?
zmierz rozstaw otworów do mocowania i bedziemy wiedziec czy spasuja p&p na belke a tarcze to raczej 240 zakładaj
- gajos3
- Aktywny użytkownik
- Posty: 181
- Rejestracja: ndz sie 13, 2006 3:08 pm
- Miejscowość: Bielsk Podlaski
- Auto: Inne
- Kontakt:
Re: Jarzma pod hamulce tarczowe tył
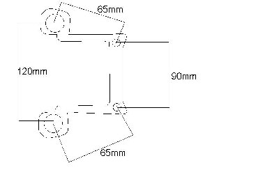
Tutaj zaznaczyłem wymiary, jeśli ktoś mógłby je porównać z wymiarami z UT to będę bardzo wdzięczny.
-
uniak 1.4T
- Spamer :P
- Posty: 522
- Rejestracja: pt cze 12, 2009 11:04 am
- Miejscowość: Mysłowice
- Auto: Punto GT
Re: Jarzma pod hamulce tarczowe tył
jak mnie pamiec nie myli tam gdzie Twoje 120 w ut jest 110
- gajos3
- Aktywny użytkownik
- Posty: 181
- Rejestracja: ndz sie 13, 2006 3:08 pm
- Miejscowość: Bielsk Podlaski
- Auto: Inne
- Kontakt:
Re: Jarzma pod hamulce tarczowe tył
Ale to raczej nie ma wpływu większego, bardziej liczy się ten wymiar 65mm.
-
uniak 1.4T
- Spamer :P
- Posty: 522
- Rejestracja: pt cze 12, 2009 11:04 am
- Miejscowość: Mysłowice
- Auto: Punto GT
Re: Jarzma pod hamulce tarczowe tył
mało w sumie kapuje z tego rysunku, te 120 to nie jest przypadkiem rozstaw tych tulejek w ktore wkładasz bolce i skrecasz z zaciskiem a 90 to rozstaw otworów do mocowania?
- gajos3
- Aktywny użytkownik
- Posty: 181
- Rejestracja: ndz sie 13, 2006 3:08 pm
- Miejscowość: Bielsk Podlaski
- Auto: Inne
- Kontakt:
Re: Jarzma pod hamulce tarczowe tył
Dokładnie tak. 
-
uniak 1.4T
- Spamer :P
- Posty: 522
- Rejestracja: pt cze 12, 2009 11:04 am
- Miejscowość: Mysłowice
- Auto: Punto GT
Re: Jarzma pod hamulce tarczowe tył
no to w UT rozstaw otworów montażowych do belki to 110 takze chyba nic z tego
chyba ze masz tam tyle miesa zeby to rozwiercic
chyba ze masz tam tyle miesa zeby to rozwiercic
-
adrian055
- Spamer :P
- Posty: 504
- Rejestracja: czw maja 14, 2009 9:17 am
- Miejscowość: Gorlice
- Auto: Punto GT
Re: Jarzma pod hamulce tarczowe tył
koledzy nie zakladajac nowego tematu, jaki wymiar maja śruby w zaciskach przednich do PGT?
- ZibiUT
- "FireStarter"
- Posty: 2098
- Rejestracja: czw gru 02, 2004 3:49 pm
- Miejscowość: Kampinos
- Auto: Uno 1.3T
- Kontakt:
Re: Jarzma pod hamulce tarczowe tył
Jarzma w UT, PGT, FC, Alfa(starsze modele jak 155) na tył są IDENTYCZNE. Dziś to sprawdziłem bo kupiłem jarzma i zaciski z FC.
Prawdopodobnie, trzeba jeszcze te blachy co są do belki przykręcone.
Śruby to M10 ale nie pamietam skoku chyba 1 ( jeden )
Prawdopodobnie, trzeba jeszcze te blachy co są do belki przykręcone.
Śruby to M10 ale nie pamietam skoku chyba 1 ( jeden )
http://www.zibisoft.pl - Hamownia podwoziowa - Ożarów Mazowiecki
-
adrian055
- Spamer :P
- Posty: 504
- Rejestracja: czw maja 14, 2009 9:17 am
- Miejscowość: Gorlice
- Auto: Punto GT
Re: Jarzma pod hamulce tarczowe tył
ok dzieki zibi i tak musze odkrecic jednak zaciki to zobacze jaki skok gwintu
- gajos3
- Aktywny użytkownik
- Posty: 181
- Rejestracja: ndz sie 13, 2006 3:08 pm
- Miejscowość: Bielsk Podlaski
- Auto: Inne
- Kontakt:
Re: Jarzma pod hamulce tarczowe tył
Zibi czyli wychodzi na to, że te jarzma z Tipo są takie same jak w UT. Tak właśnie myślałem, że większa tarcza jest dzięki odsunięciu mocowania jarzma, a nie różnicy w samym jarzmie.
Blachy na pewno trzeba będzie dorobić, ale to już żaden problem. Dzięki bardzo. 